Vatten i rodret, hjälp!!!

Roder, roderbeslag och rorkult.

Moderator: Moderator

Användarvisningsbild
Syracusia N-22
Inlägg: 52
Blev medlem: 10 feb 2012 09:59

Vatten i rodret, hjälp!!!

Inlägg av Syracusia N-22 »

Jag har varit nere och båttenmålat båten idag. Jag tog bort rodret för att byta O-ringar. Men min båt ser ut till at vara för gammal till att ha plats för sånna. Hur gjör jag då? Ha på nått fett? Eller bara låta bli?

Det värsta var att när jag tagit bort rodret såg jag att det rann vatten från en ca 30cm lång spricka i bakkant av rodret nede, ca 10cm över rodrets nedre del. När jag skakade på rodret kunde jag höra att det skvalpade där inne(!) Jag tycker mej ha läst om dette nånstans, men hittade inget i gammla trådar här inne. En båtgranne förelsog att jag skulle öppna upp spricken med en vinkelslip, låta det torka ut ordentligt och sedan plasta igjen med nått spackel. Hur gjör jag detta på bästa sätt? Vart kommer vattnet ifrån? Eftersom det började att rinna först nu, då jag skruvat ut klossarna som låser rodret på plats, antar jag at vattnet hållit sej inne i rodret på grund av vakum, eller nått?

Tips tas imot med stort tack! Det är bråttom!!!
Användarvisningsbild
maja
Moderator
Inlägg: 2887
Blev medlem: 19 aug 2006 09:56
Has thanked: 3 times
Been thanked: 65 times

Re: Vatten i rodret, hjälp!!!

Inlägg av maja »

Om du bedömer att rodret kommer att hålla ihop, behöver du inte göra något just nu.

Om du tror att rodret kommer att spricka sönder, ska du laga sprickorna i bakkant och förkant med glasfibermatta och polyester.

Läckaget är egentligen inget problem, så länga att du försäkrar dig om att det inte finns vatten i rodret när du ställer båten på land. Så till hösten, när du tagit upp båten, tar du av rodret och borrar ett hål på undersidan, längs in mot den tjockare delen (främre kanten). Då rinner vattnet ut och rodret fryser inte sönder.

Du behöver inte täta detta hål när du sjösätter nästa år, eftersom vatten sannolikt ändå kommer in, särskilt i områdena kring de ingjutna tapparna. När du lyfter rinner det mesta av vattnet ut direkt av sig självt och resten när du vinklar rodret litet fram och tillbaka.

På äldre roder sätter man t.ex. uppsplitsade engångssprutor eller bitar av krympslang i stället för O-ringar.
Marek, IF-båt SWE-829 "Ingela" från Lagunen i Malmö
Medlem i IF-båtförbundet sedan 1985
IF-båtägare sedan 1983
Användarvisningsbild
Syracusia N-22
Inlägg: 52
Blev medlem: 10 feb 2012 09:59

Re: Vatten i rodret, hjälp!!!

Inlägg av Syracusia N-22 »

Tack Maja!

Jag tror att rodret kommer att hålla, alltså det ser ut som at det är ok annars.

Då får jag hitta lite krympslang å dra över tapparna, så hoppas jag att det ska vara bra nog. Det var ingenting där när jag tog bort rodret. Och stoppklossen i mitten var gjord av trä, men det spelar väll ingen roll, så länge den övre och nedre stoppklossen är bra? En annan fråga, det ser ut aom at skruvarna till stoppklossarna är gjorda av mässing äller nått liknande. Kan jag byta det ut mot skruvar i rostfritt? Eller blir det nått knas med ärgning av rodertapparna då?
Användarvisningsbild
Syracusia N-22
Inlägg: 52
Blev medlem: 10 feb 2012 09:59

Re: Vatten i rodret, hjälp!!!

Inlägg av Syracusia N-22 »

Hur stort bör hålet vara som ska borras?
Användarvisningsbild
maja
Moderator
Inlägg: 2887
Blev medlem: 19 aug 2006 09:56
Has thanked: 3 times
Been thanked: 65 times

Re: Vatten i rodret, hjälp!!!

Inlägg av maja »

Syracusia N-22 skrev:Hur stort bör hålet vara som ska borras?
4-5 mm.
Marek, IF-båt SWE-829 "Ingela" från Lagunen i Malmö
Medlem i IF-båtförbundet sedan 1985
IF-båtägare sedan 1983
IF1426
Inlägg: 276
Blev medlem: 01 apr 2007 16:18
Been thanked: 27 times

Re: Vatten i rodret, hjälp!!!

Inlägg av IF1426 »

En intressant fråga framkom när jag studerade en IF som låg förtöjd vid en brygga. Vad som slog mig var att rorkulten som var fritt svängande och med mindre rörelser alltid intog ett centrerat läge. Den IF-en har ett roder med hålrum och ett hål borrat i nedre delen som gör att rodret blir vattenfyllt.
Som jämförelse ser jag mitt roder, som är fyllt med någon form av skummfylln.,och alltid intar ett maximalt ändläge till SB eller BB när jag släpper rorkulten och båten ligger still. Detta beror sannolikt på att skummfyllningen ger en flytkraft som lyfter roderbladet till ett snedställt läge vilket betyder att man alltid behöver fixera rorkulten till ett läge midskepps.
Det skulle vara intressant om någon har samma erfarenheter och att få synpunkter på vad ett "tungt" (vattenfyllt) eller ett "lätt" (skummfyllt) roder kan ha för inverkan på båtens egenskaper.
IF1426 / L-Å Andesson
Användarvisningsbild
johan swe-1870
Global moderator
Inlägg: 2575
Blev medlem: 24 aug 2006 09:43
Segelnummer: 1870
Båtnamn: InFinit
Ort: Råå
Has thanked: 118 times
Been thanked: 81 times
Kontakt:

Re: Vatten i rodret, hjälp!!!

Inlägg av johan swe-1870 »

Jag tror du har rätt i att rodren inte är exakt likadana.

Jag har också noterat att vissa IF-båtar kan lämna rorkulten fri, men ändå blir rodret stående i mittenläget vid vila. På min båt måste jag binda rorkulten, annars svänger rodret ut åt endera hållet tills rorkulten ligger an och skaver nånstans.
Johan Winberg, SWE 1870 InFinit
Användarvisningsbild
Lasse L
Inlägg: 191
Blev medlem: 18 apr 2011 19:34
Ort: Göteborg
Kontakt:

Re: Vatten i rodret, hjälp!!!

Inlägg av Lasse L »

Mitt roder är "tungt" lite vatten rann ur på land.
Rodret mamnar i mittläge vid bryggan.
Surrar alltid rodret i borde för att inte vågskvalp skall slita på maljorna.
Användarvisningsbild
IF 436
Inlägg: 5
Blev medlem: 08 jan 2018 23:03
Been thanked: 1 time

Re: Vatten i rodret, hjälp!!!

Inlägg av IF 436 »

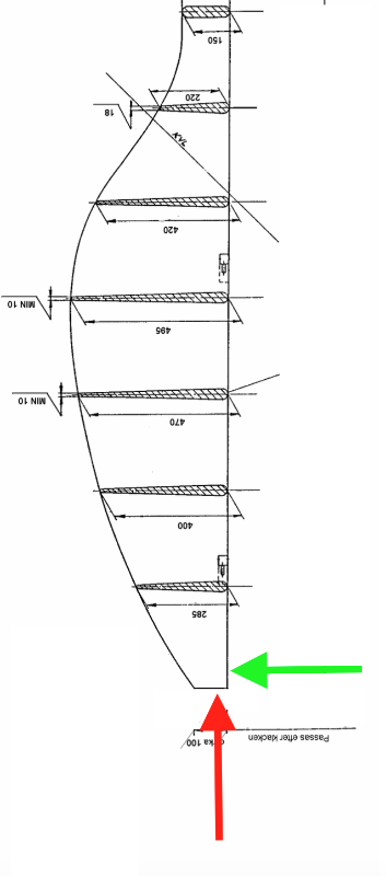
maja skrev: 07 maj 2012 20:59 Så till hösten, när du tagit upp båten, tar du av rodret och borrar ett hål på undersidan, längs in mot den tjockare delen (främre kanten). Då rinner vattnet ut och rodret fryser inte sönder.
Hej,

Vi har samma problem med vart roder (gamla versionen från 1969). Idag försökte jag borra hål (både, röd och grön pil) men lyckades inte att få ut vattnet. Borrade jag på fel ställe?
borrhål
borrhål
Rodret.png (66.46 KiB) Visad 30430 gånger
Men när jag borrade fick jag veta att det finns inplastad trä i vart roder... Kan det inte bli problem med trä och vatten i rodret?

Tack på förhand.
Christian
Användarvisningsbild
IF 2719
Inlägg: 509
Blev medlem: 16 sep 2008 21:01
Segelnummer: 2719
Båtnamn: Filijokus
Ort: Rönninge
Has thanked: 106 times
Been thanked: 12 times
Kontakt:

Re: Vatten i rodret, hjälp!!!

Inlägg av IF 2719 »

Det kanske har sipprat ut? När du en gång borrat upp, kan du ju behålla hålet och kanske täta med sika på våren och peta upp det på hösten, så att vattnet rinner ur och minimera risken för frostsprängning. Hur djupt borrade du? 6-7 cm? Det ser ut att vara rätt ställe...
Filijokus SWE 2719 Martin Rundström
Planerade regattor 2026: Funderar på vilka seglingar vi ska vara med på 2026...
Användarvisningsbild
maja
Moderator
Inlägg: 2887
Blev medlem: 19 aug 2006 09:56
Has thanked: 3 times
Been thanked: 65 times

Re: Vatten i rodret, hjälp!!!

Inlägg av maja »

När man tar upp båten, rinner mycket av vattnet ut samma väg som det kom in. De vanligaste ställena är vid de ingjutna rodertapparna. Så det ger inte så mycket med att täta de borrade hålen, eftersom vattnet kommer in andra vägar.

Man borrar hål längst ner på roderbladet för att få det sista av vattnet att rinna ur. Men rodret hänger i 45 grader mot lodlinjen, så man ska vinkla rodret 90 grader förr att få ut allt vatten ur diverse fickor i roderbladet. Det kan ta flera minuter innan allt har runnit ut, så lämpligtvis stöttar man roderbladet i vinklat läge med en trästötta. Se även till att det inte sitter en havstulpan i hålet.. Då kan det rinna ganska dåligt.. 8) ..

När jag hade den gamla typen av roder, sedan länge ersatt med finansiell hjälp från försäkringsbolaget efter ett antal påseglingar, hade jag endast borrat vid den röda pilen. Det räckte. Så vitt jag minns, borrade jag inte särskilt djupt, bara genom laminatet.

Du är väl med i IF-båtförbundet..?...
Marek, IF-båt SWE-829 "Ingela" från Lagunen i Malmö
Medlem i IF-båtförbundet sedan 1985
IF-båtägare sedan 1983
Användarvisningsbild
IF 436
Inlägg: 5
Blev medlem: 08 jan 2018 23:03
Been thanked: 1 time

Re: Vatten i rodret, hjälp!!!

Inlägg av IF 436 »

Tack för hjälpen! Tyvärr verkar rodret lite annorlunda. Jag var tvungen att borra ungefär 6-8cm för att hitta vatten men lyckades på backsidan av rodret till slutet. Nu måste jag bara fylla flera hål med epoxi men det som funkar stannar fritt.

Vi ska bli med i förbundet snart!
mauri
Inlägg: 11
Blev medlem: 31 jul 2019 15:22
Been thanked: 1 time

Re: Vatten i rodret, hjälp!!!

Inlägg av mauri »

Kan man fylla rodret med skum från ett hål i varje sektioner och lösa problemet? Vilken skum? En som där?
https://www.swedol.se/quicksearch/result/?q=sikaboom
Användarvisningsbild
maja
Moderator
Inlägg: 2887
Blev medlem: 19 aug 2006 09:56
Has thanked: 3 times
Been thanked: 65 times

Re: Vatten i rodret, hjälp!!!

Inlägg av maja »

Man får i så fall borra flera hål så att det inte blir för högt tryck inne i rodret när skummet expanderar.
Marek, IF-båt SWE-829 "Ingela" från Lagunen i Malmö
Medlem i IF-båtförbundet sedan 1985
IF-båtägare sedan 1983
Andreas89
Inlägg: 144
Blev medlem: 03 jun 2020 10:16
Has thanked: 14 times
Been thanked: 34 times

Re: Vatten i rodret, hjälp!!!

Inlägg av Andreas89 »

Nu har jag plockat upp båten för första gången och tänkte höra med er ifall man ska förutsätta att man har vatten i rodret?

Jag och brorsan lyfte av rodret idag. Såg inget befintligt dräneringshål. Fick ingen förnimmelse om vatten inuti när vi skiftade runt det lite grann och kände efter och lyssnade.

Undviker så klart gärna frostsprängning så ifall det är klokast att borra oavsett så gör jag det.
Skriv svar